«Автомотив Групп» - Профессиональное оборудование для автосервисов
Интернет-магазин представительского класса
Каталог товаров
Установки для заправки кондиционеров
Станции заправки кондиционеров
Очистка и дезинфекция
Инструменты для поиска утечек
Расходные материалы для заправки кондиционеров
Аксесуары и приспособления для заправки кондиционера
Манометрические коллекторы
Подъёмное оборудование
2-х стоечные подъемники и аксессуары
2-х стоечные подъемники
Аксессуары для 2-х стоечных подъемников
Резиновые накладки
4-х стоечные подъемники и аксессуары
4-х стоечные подъемники
Аксессуары для 4-х стоечных подъемников
Ножничные подъемники длинные
Ножничные подъемники короткие
Подъемники для шиномонтажа
Грузовые подкатные колонны
Аксессуары для ножчичных подъемников
Подъемники для мототехники
Траверсы гидравлические и аксессуары
Траверсы гидравлические
Аксессуары для траверс гидравлических
Плунжерные подъемники и аксессуары
Аксессуары для плунжерных подъемников
Плунжерные подъемники
Грузовое оборудование
Грузовое шиномонтажное оборудование
Посты накачивания грузовых колес
Шиномонтажные станки
Борторасширители для грузовых авто
Вулканизаторы
Пистолеты для подкачки шин грузовых авто
Балансировочные станки, конусы, адаптеры
Стеннд РУУК
Подъемники грузовые
Канавные домкраты
Тележки для транспортировки колес
Гайковерты для грузовых автомобилей
Домкраты грузовые
Упоры противооткатные
Компрессоры для грузовых авто
Окрасочно-сушильные камеры для грузовых автомобилей
Подставки автомобильные страховочные для грузовых авто (Стойки механические)
Пресс гидравлический для грузовых авто
Ручной инструмент
Стенды для ремонта грузовых двигателей
Станки для наклепки тормозных накладок и запчасти
Станки для наклепки тормозных накладок
Шиномонтажное оборудование
Правка дисков
Борторасширители
Вулканизаторы
Конусы и опции для балансировки
Балансировочные станки
Расходные материалы для шиномонтажа
Пистолеты для накачки шин
Гайковерты
Ножничные подъемники для шиномонтажа
Шиповальное оборудование
Бустеры пневматические
Мойки колес
Ванны для проверки колес
Шиномонтажные станки и опции для шиномонтажа
Шиномонтажные станки
Опции для шиномонтажа
Домкраты и наладки
Домкраты
Инструмент для шиномонтажа и аксессуары
Инструмент для шиномонтажа
Домкраты и накладки
Накладки на домкраты
Стенды развал-схождения 3D
Аксессуары и опции
Стенды РУУК
Общегаражное оборудование
Ультразвуковые ванны
Аксессуары
Станки для проточки дисков
Пескоструйная камера
Прессы
Подставки для а/м
Кран гаражный
Подьемные столы
Стойки трансмиссионные гидравлические
Мойка деталей
Стенды для переборки двс
Балки для вывешивания двс
Фонарики и переноски
Приборы регулировки света фар
Генераторы азота
Стяжки пружин
Домкраты подкатные
Насосы пневмогидравлические
Домкраты бутылочные
Тиски
Тележки для перемещения а/м
Станки
Индукционные нагреватели
Замена жидкостей и аксессуары
Аксессуары для замены жидкостей
Замена жидкостей
Сварочное оборудование и аксессуары
Сварочное оборудование
Вытяжка выхлопных газов
Насадки, шланги, адаптеры и аксессуары
Вентиляторы
Рельсовые системы
Катушки
Компрессоры
Пневмолиния
Ресиверы
Осушители
Компрессоры винтовые
Компрессоры поршневые и аксессуары
Блоки поршневые
Компрессоры безмаслянные
Компрессоры поршневые
Пускозарядные устройства и бустеры
Зарядные устройства
Пускозарядные устройства
Бустеры
Запчасти и аксессуары для пускозарядных устройств
Диагностические линии
Линии инструментального контроля
Стенды роликовые тормозные
Стенды для проверки амортизаторов
Стенды проверки бокового увода
Маслосменное оборудование
Установки для замены жидкостей
Емкости и аксессуары
Бочки для слива масла
Нагнетатели масла
Диагностическое оборудование
Стенды для проверки форсунок
Дымомеры
Газоанализаторы
Установки
Эндоскопы
Тестеры
Стенды диагностические для ремонта генераторов
Сканеры, опции и обновления
Опции и обновления
Сканеры
Мойки высокого давления
Пеногенераторы
Пылесосы
Малярно-кузовное оборудование
Стапели
Камеры окрасочно-сушильные
Стойки и стенды для покраски
Краскопульты
Зоны подготовки
Шлифовальные машины и пылесосы
Тележки для перемещения автомобиля
Правка кузова и аксессуары
Правка кузова
Аксессуары для правки кузова
Сварочное оборудование и аксессуары
Инфракрасные сушки и запчасти
Запчасти для инфракрасных сушек
Инфракрасные сушки
Мойка деталей
Ручная мойка деталей
Автоматическая мойка деталей
Приборы регулировки света фар
Оборудование для техосмотра
Дымомеры
Газоанализаторы
Люфтомеры
Течеискатель
Стенды роликовые тормозные
Прочие средства измерения
Складское оборудование
Складское оборудование
Система маслораздачи
Насосы для подачи и перекачки масла
Консоли и пистолеты для раздачи масла
Мебель и верстаки
Аксессуары
Тележки инструментальные
Верстаки
Запчасти
Запчасти для стендов РУУК
Запчасти для балансировочных стендов
Запчасти для шиномонтажных стендов
Запчасти для двухстоечных подъемников
Запчасти для четырехстоечных подъемников
Запчасти для ножничных подъемников
Запчасти для заправок кондиционеров
Зачасти для плунжерных подъемников
Пневматический инструмент
Гайковерты пневматические
Блоки подготовки воздуха
Фитинги
Пневмокатушки и шланги для воздуха
Пневмозубила и дрели
Трещотки пневматические
Пневмолобзики
Пневмошлифмашинки
Пневмоножницы
Шприцы пневматические
Продувочный пистолет
Угловые шлифмашинки (УШМ)
Пневмозачистные машинки
Пневмозаклепочники
Полировальные машинки
Аксессуары и расходные материалы
Ручной инструмент
Головки и насадки ударные
Ключи
Режущий инструмент
Кузовной инструмент
Съемники
Шарнирно-губцевый инструмент
Удлинители, переходники, карданы
Наборы ручного инструмента
Отвертки
Специальный инструмент
Тележки с наборами инструментов
Динамометрические ключи и отвертки
Защитные чехлы
Резьбонарезной инструмент
Измерительный инструмент
Зеркала, захваты, магниты
Электроинструмент
УШМ
Электрический и аккумуляторный инструменты
Перфораторы и дрели
Шуруповерты
Специнструмент
Наборы специнструмента
Мото
Мотооснастка
Мотоподъемники
О компании
Отзывы
Наши клиенты
Наши работы
Фотогалерея
Бренды
Сервис
Оформить заявку
Стоимость услуг
Запчасти
Оформить заявку на запчасти
Каталог запчастей
Гарантия
Оплата и доставка
Контакты
+7 (812) 363-03-00
Заказать звонок
Задать вопрос
Войти
  • Корзина0
  • Избранные товары0
  • Сравнение товаров0
-Заказ оборудования, инструмента и расходных материалов-zakaz@amotivegroup.ru
-Заказ запасных частей-zip@amotivegroup.ru
-Вопросы по монтажу, обслуживанию и ремонту оборудованию-service@amotivegroup.ru
г. Санкт-Петербург, ул. Самойловой д. 7
«Автомотив Групп» - Профессиональное оборудование для автосервисов
+7 (812) 363-03-00
Заказать звонок
Войти
Сравнение0
Избранные товары 0
Корзина 0
Каталог товаров
Установки для заправки кондиционеров
Подъёмное оборудование
Грузовое оборудование
Шиномонтажное оборудование
Стенды развал-схождения 3D
Общегаражное оборудование
Вытяжка выхлопных газов
Компрессоры
Пускозарядные устройства и бустеры
Диагностические линии
Маслосменное оборудование
Диагностическое оборудование
Мойки высокого давления
Малярно-кузовное оборудование
Мойка деталей
Приборы регулировки света фар
Оборудование для техосмотра
Складское оборудование
Система маслораздачи
Мебель и верстаки
Запчасти
Пневматический инструмент
Ручной инструмент
Электроинструмент
Специнструмент
Мото
    • Станции заправки кондиционеров
      Станции заправки кондиционеров
    • Очистка и дезинфекция
      Очистка и дезинфекция
    • Инструменты для поиска утечек
      Инструменты для поиска утечек
    • Расходные материалы для заправки кондиционеров
      Расходные материалы для заправки кондиционеров
    • Аксесуары и приспособления для заправки кондиционера
      Аксесуары и приспособления для заправки кондиционера
    • Манометрические коллекторы
      Манометрические коллекторы
    • 2-х стоечные подъемники и аксессуары
      2-х стоечные подъемники и аксессуары
      • 2-х стоечные подъемники
      • Аксессуары для 2-х стоечных подъемников
      • Резиновые накладки
      • Ещё 1
    • 4-х стоечные подъемники и аксессуары
      4-х стоечные подъемники и аксессуары
      • 4-х стоечные подъемники
      • Аксессуары для 4-х стоечных подъемников
    • Ножничные подъемники длинные
      Ножничные подъемники длинные
    • Ножничные подъемники короткие
      Ножничные подъемники короткие
    • Подъемники для шиномонтажа
      Подъемники для шиномонтажа
    • Грузовые подкатные колонны
      Грузовые подкатные колонны
    • Аксессуары для ножчичных подъемников
      Аксессуары для ножчичных подъемников
    • Подъемники для мототехники
      Подъемники для мототехники
    • Траверсы гидравлические и аксессуары
      Траверсы гидравлические и аксессуары
      • Траверсы гидравлические
      • Аксессуары для траверс гидравлических
    • Плунжерные подъемники и аксессуары
      Плунжерные подъемники и аксессуары
      • Аксессуары для плунжерных подъемников
      • Плунжерные подъемники
    • Грузовое шиномонтажное оборудование
      Грузовое шиномонтажное оборудование
      • Посты накачивания грузовых колес
      • Шиномонтажные станки
      • Борторасширители для грузовых авто
      • Вулканизаторы
      • Пистолеты для подкачки шин грузовых авто
      • Балансировочные станки, конусы, адаптеры
      • Ещё 4
    • Стеннд РУУК
      Стеннд РУУК
    • Подъемники грузовые
      Подъемники грузовые
    • Канавные домкраты
      Канавные домкраты
    • Тележки для транспортировки колес
      Тележки для транспортировки колес
    • Гайковерты для грузовых автомобилей
      Гайковерты для грузовых автомобилей
    • Домкраты грузовые
      Домкраты грузовые
    • Упоры противооткатные
      Упоры противооткатные
    • Компрессоры для грузовых авто
      Компрессоры для грузовых авто
    • Окрасочно-сушильные камеры для грузовых автомобилей
      Окрасочно-сушильные камеры для грузовых автомобилей
    • Подставки автомобильные страховочные для грузовых авто (Стойки механические)
      Подставки автомобильные страховочные для грузовых авто (Стойки механические)
    • Пресс гидравлический для грузовых авто
      Пресс гидравлический для грузовых авто
    • Ручной инструмент
      Ручной инструмент
    • Стенды для ремонта грузовых двигателей
      Стенды для ремонта грузовых двигателей
    • Станки для наклепки тормозных накладок и запчасти
      Станки для наклепки тормозных накладок и запчасти
      • Станки для наклепки тормозных накладок
    • Правка дисков
      Правка дисков
    • Борторасширители
      Борторасширители
    • Вулканизаторы
      Вулканизаторы
    • Конусы и опции для балансировки
      Конусы и опции для балансировки
    • Балансировочные станки
      Балансировочные станки
    • Расходные материалы для шиномонтажа
      Расходные материалы для шиномонтажа
    • Пистолеты для накачки шин
      Пистолеты для накачки шин
    • Гайковерты
      Гайковерты
    • Ножничные подъемники для шиномонтажа
      Ножничные подъемники для шиномонтажа
    • Шиповальное оборудование
      Шиповальное оборудование
    • Бустеры пневматические
      Бустеры пневматические
    • Мойки колес
      Мойки колес
    • Ванны для проверки колес
      Ванны для проверки колес
    • Шиномонтажные станки и опции для шиномонтажа
      Шиномонтажные станки и опции для шиномонтажа
      • Шиномонтажные станки
      • Опции для шиномонтажа
    • Домкраты и наладки
      Домкраты и наладки
      • Домкраты
    • Инструмент для шиномонтажа и аксессуары
      Инструмент для шиномонтажа и аксессуары
      • Инструмент для шиномонтажа
    • Домкраты и накладки
      • Накладки на домкраты
    • Аксессуары и опции
      Аксессуары и опции
    • Стенды РУУК
      Стенды РУУК
    • Ультразвуковые ванны
      Ультразвуковые ванны
    • Аксессуары
      Аксессуары
    • Станки для проточки дисков
      Станки для проточки дисков
    • Пескоструйная камера
      Пескоструйная камера
    • Прессы
      Прессы
    • Подставки для а/м
      Подставки для а/м
    • Кран гаражный
      Кран гаражный
    • Подьемные столы
      Подьемные столы
    • Стойки трансмиссионные гидравлические
      Стойки трансмиссионные гидравлические
    • Мойка деталей
      Мойка деталей
    • Стенды для переборки двс
      Стенды для переборки двс
    • Балки для вывешивания двс
      Балки для вывешивания двс
    • Фонарики и переноски
      Фонарики и переноски
    • Приборы регулировки света фар
      Приборы регулировки света фар
    • Генераторы азота
      Генераторы азота
    • Стяжки пружин
      Стяжки пружин
    • Домкраты подкатные
      Домкраты подкатные
    • Насосы пневмогидравлические
      Насосы пневмогидравлические
    • Домкраты бутылочные
      Домкраты бутылочные
    • Тиски
      Тиски
    • Тележки для перемещения а/м
      Тележки для перемещения а/м
    • Станки
      Станки
    • Индукционные нагреватели
      Индукционные нагреватели
    • Замена жидкостей и аксессуары
      Замена жидкостей и аксессуары
      • Аксессуары для замены жидкостей
      • Замена жидкостей
    • Сварочное оборудование и аксессуары
      Сварочное оборудование и аксессуары
      • Сварочное оборудование
    • Насадки, шланги, адаптеры и аксессуары
      Насадки, шланги, адаптеры и аксессуары
    • Вентиляторы
      Вентиляторы
    • Рельсовые системы
      Рельсовые системы
    • Катушки
      Катушки
    • Пневмолиния
      Пневмолиния
    • Ресиверы
      Ресиверы
    • Осушители
      Осушители
    • Компрессоры винтовые
      Компрессоры винтовые
    • Компрессоры поршневые и аксессуары
      Компрессоры поршневые и аксессуары
      • Блоки поршневые
      • Компрессоры безмаслянные
      • Компрессоры поршневые
      • Ещё 1
    • Зарядные устройства
      Зарядные устройства
    • Пускозарядные устройства
      Пускозарядные устройства
    • Бустеры
      Бустеры
    • Запчасти и аксессуары для пускозарядных устройств
      Запчасти и аксессуары для пускозарядных устройств
    • Линии инструментального контроля
      Линии инструментального контроля
    • Стенды роликовые тормозные
      Стенды роликовые тормозные
    • Стенды для проверки амортизаторов
      Стенды для проверки амортизаторов
    • Стенды проверки бокового увода
      Стенды проверки бокового увода
    • Установки для замены жидкостей
      Установки для замены жидкостей
    • Емкости и аксессуары
      Емкости и аксессуары
    • Бочки для слива масла
      Бочки для слива масла
    • Нагнетатели масла
      Нагнетатели масла
    • Стенды для проверки форсунок
      Стенды для проверки форсунок
    • Дымомеры
      Дымомеры
    • Газоанализаторы
      Газоанализаторы
    • Установки
      Установки
    • Эндоскопы
      Эндоскопы
    • Тестеры
      Тестеры
    • Стенды диагностические для ремонта генераторов
      Стенды диагностические для ремонта генераторов
    • Сканеры, опции и обновления
      Сканеры, опции и обновления
      • Опции и обновления
      • Сканеры
    • Пеногенераторы
      Пеногенераторы
    • Пылесосы
      Пылесосы
    • Стапели
      Стапели
    • Камеры окрасочно-сушильные
      Камеры окрасочно-сушильные
    • Стойки и стенды для покраски
      Стойки и стенды для покраски
    • Краскопульты
      Краскопульты
    • Зоны подготовки
      Зоны подготовки
    • Шлифовальные машины и пылесосы
      Шлифовальные машины и пылесосы
    • Тележки для перемещения автомобиля
      Тележки для перемещения автомобиля
    • Правка кузова и аксессуары
      Правка кузова и аксессуары
      • Правка кузова
      • Аксессуары для правки кузова
    • Сварочное оборудование и аксессуары
      Сварочное оборудование и аксессуары
    • Инфракрасные сушки и запчасти
      Инфракрасные сушки и запчасти
      • Запчасти для инфракрасных сушек
      • Инфракрасные сушки
    • Ручная мойка деталей
      Ручная мойка деталей
    • Автоматическая мойка деталей
      Автоматическая мойка деталей
    • Дымомеры
      Дымомеры
    • Газоанализаторы
      Газоанализаторы
    • Люфтомеры
      Люфтомеры
    • Течеискатель
      Течеискатель
    • Стенды роликовые тормозные
      Стенды роликовые тормозные
    • Прочие средства измерения
      Прочие средства измерения
    • Складское оборудование
      Складское оборудование
    • Насосы для подачи и перекачки масла
      Насосы для подачи и перекачки масла
    • Консоли и пистолеты для раздачи масла
      Консоли и пистолеты для раздачи масла
    • Аксессуары
      Аксессуары
    • Тележки инструментальные
      Тележки инструментальные
    • Верстаки
      Верстаки
    • Запчасти для стендов РУУК
      Запчасти для стендов РУУК
    • Запчасти для балансировочных стендов
      Запчасти для балансировочных стендов
    • Запчасти для шиномонтажных стендов
      Запчасти для шиномонтажных стендов
    • Запчасти для двухстоечных подъемников
      Запчасти для двухстоечных подъемников
    • Запчасти для четырехстоечных подъемников
      Запчасти для четырехстоечных подъемников
    • Запчасти для ножничных подъемников
      Запчасти для ножничных подъемников
    • Запчасти для заправок кондиционеров
      Запчасти для заправок кондиционеров
    • Зачасти для плунжерных подъемников
      Зачасти для плунжерных подъемников
    • Гайковерты пневматические
      Гайковерты пневматические
    • Блоки подготовки воздуха
      Блоки подготовки воздуха
    • Фитинги
      Фитинги
    • Пневмокатушки и шланги для воздуха
      Пневмокатушки и шланги для воздуха
    • Пневмозубила и дрели
      Пневмозубила и дрели
    • Трещотки пневматические
      Трещотки пневматические
    • Пневмолобзики
      Пневмолобзики
    • Пневмошлифмашинки
      Пневмошлифмашинки
    • Пневмоножницы
      Пневмоножницы
    • Шприцы пневматические
      Шприцы пневматические
    • Продувочный пистолет
      Продувочный пистолет
    • Угловые шлифмашинки (УШМ)
      Угловые шлифмашинки (УШМ)
    • Пневмозачистные машинки
      Пневмозачистные машинки
    • Пневмозаклепочники
      Пневмозаклепочники
    • Полировальные машинки
      Полировальные машинки
    • Аксессуары и расходные материалы
      Аксессуары и расходные материалы
    • Головки и насадки ударные
      Головки и насадки ударные
    • Ключи
      Ключи
    • Режущий инструмент
      Режущий инструмент
    • Кузовной инструмент
      Кузовной инструмент
    • Съемники
      Съемники
    • Шарнирно-губцевый инструмент
      Шарнирно-губцевый инструмент
    • Удлинители, переходники, карданы
      Удлинители, переходники, карданы
    • Наборы ручного инструмента
      Наборы ручного инструмента
    • Отвертки
      Отвертки
    • Специальный инструмент
      Специальный инструмент
    • Тележки с наборами инструментов
      Тележки с наборами инструментов
    • Динамометрические ключи и отвертки
      Динамометрические ключи и отвертки
    • Защитные чехлы
      Защитные чехлы
    • Резьбонарезной инструмент
      Резьбонарезной инструмент
    • Измерительный инструмент
      Измерительный инструмент
    • Зеркала, захваты, магниты
      Зеркала, захваты, магниты
    • УШМ
      УШМ
    • Электрический и аккумуляторный инструменты
      Электрический и аккумуляторный инструменты
    • Перфораторы и дрели
      Перфораторы и дрели
    • Шуруповерты
      Шуруповерты
    • Наборы специнструмента
      Наборы специнструмента
    • Мотооснастка
      Мотооснастка
    • Мотоподъемники
      Мотоподъемники
О компании
Бренды
Сервис
Запчасти
Гарантия
Оплата и доставка
Контакты
Ещё
    «Автомотив Групп» - Профессиональное оборудование для автосервисов -->
    +7 (812) 363-03-00
    Заказать звонок
    Сравнение0 Избранные товары 0 Корзина 0
    «Автомотив Групп» - Профессиональное оборудование для автосервисов
    Сравнение0 Избранные товары 0 Корзина 0
    Телефоны
    +7 (812) 363-03-00
    Заказать звонок
    Назад
    • Каталог товаров
      • Назад
      • Каталог товаров
      • Установки для заправки кондиционеров
        • Назад
        • Установки для заправки кондиционеров
        • Станции заправки кондиционеров
        • Очистка и дезинфекция
        • Инструменты для поиска утечек
        • Расходные материалы для заправки кондиционеров
        • Аксесуары и приспособления для заправки кондиционера
        • Манометрические коллекторы
      • Подъёмное оборудование
        • Назад
        • Подъёмное оборудование
        • 2-х стоечные подъемники и аксессуары
          • Назад
          • 2-х стоечные подъемники и аксессуары
          • 2-х стоечные подъемники
          • Аксессуары для 2-х стоечных подъемников
          • Резиновые накладки
        • 4-х стоечные подъемники и аксессуары
          • Назад
          • 4-х стоечные подъемники и аксессуары
          • 4-х стоечные подъемники
          • Аксессуары для 4-х стоечных подъемников
        • Ножничные подъемники длинные
        • Ножничные подъемники короткие
        • Подъемники для шиномонтажа
        • Грузовые подкатные колонны
        • Аксессуары для ножчичных подъемников
        • Подъемники для мототехники
        • Траверсы гидравлические и аксессуары
          • Назад
          • Траверсы гидравлические и аксессуары
          • Траверсы гидравлические
          • Аксессуары для траверс гидравлических
        • Плунжерные подъемники и аксессуары
          • Назад
          • Плунжерные подъемники и аксессуары
          • Аксессуары для плунжерных подъемников
          • Плунжерные подъемники
      • Грузовое оборудование
        • Назад
        • Грузовое оборудование
        • Грузовое шиномонтажное оборудование
          • Назад
          • Грузовое шиномонтажное оборудование
          • Посты накачивания грузовых колес
          • Шиномонтажные станки
          • Борторасширители для грузовых авто
          • Вулканизаторы
          • Пистолеты для подкачки шин грузовых авто
          • Балансировочные станки, конусы, адаптеры
        • Стеннд РУУК
        • Подъемники грузовые
        • Канавные домкраты
        • Тележки для транспортировки колес
        • Гайковерты для грузовых автомобилей
        • Домкраты грузовые
        • Упоры противооткатные
        • Компрессоры для грузовых авто
        • Окрасочно-сушильные камеры для грузовых автомобилей
        • Подставки автомобильные страховочные для грузовых авто (Стойки механические)
        • Пресс гидравлический для грузовых авто
        • Ручной инструмент
        • Стенды для ремонта грузовых двигателей
        • Станки для наклепки тормозных накладок и запчасти
          • Назад
          • Станки для наклепки тормозных накладок и запчасти
          • Станки для наклепки тормозных накладок
      • Шиномонтажное оборудование
        • Назад
        • Шиномонтажное оборудование
        • Правка дисков
        • Борторасширители
        • Вулканизаторы
        • Конусы и опции для балансировки
        • Балансировочные станки
        • Расходные материалы для шиномонтажа
        • Пистолеты для накачки шин
        • Гайковерты
        • Ножничные подъемники для шиномонтажа
        • Шиповальное оборудование
        • Бустеры пневматические
        • Мойки колес
        • Ванны для проверки колес
        • Шиномонтажные станки и опции для шиномонтажа
          • Назад
          • Шиномонтажные станки и опции для шиномонтажа
          • Шиномонтажные станки
          • Опции для шиномонтажа
        • Домкраты и наладки
          • Назад
          • Домкраты и наладки
          • Домкраты
        • Инструмент для шиномонтажа и аксессуары
          • Назад
          • Инструмент для шиномонтажа и аксессуары
          • Инструмент для шиномонтажа
        • Домкраты и накладки
          • Назад
          • Домкраты и накладки
          • Накладки на домкраты
      • Стенды развал-схождения 3D
        • Назад
        • Стенды развал-схождения 3D
        • Аксессуары и опции
        • Стенды РУУК
      • Общегаражное оборудование
        • Назад
        • Общегаражное оборудование
        • Ультразвуковые ванны
        • Аксессуары
        • Станки для проточки дисков
        • Пескоструйная камера
        • Прессы
        • Подставки для а/м
        • Кран гаражный
        • Подьемные столы
        • Стойки трансмиссионные гидравлические
        • Мойка деталей
        • Стенды для переборки двс
        • Балки для вывешивания двс
        • Фонарики и переноски
        • Приборы регулировки света фар
        • Генераторы азота
        • Стяжки пружин
        • Домкраты подкатные
        • Насосы пневмогидравлические
        • Домкраты бутылочные
        • Тиски
        • Тележки для перемещения а/м
        • Станки
        • Индукционные нагреватели
        • Замена жидкостей и аксессуары
          • Назад
          • Замена жидкостей и аксессуары
          • Аксессуары для замены жидкостей
          • Замена жидкостей
        • Сварочное оборудование и аксессуары
          • Назад
          • Сварочное оборудование и аксессуары
          • Сварочное оборудование
      • Вытяжка выхлопных газов
        • Назад
        • Вытяжка выхлопных газов
        • Насадки, шланги, адаптеры и аксессуары
        • Вентиляторы
        • Рельсовые системы
        • Катушки
      • Компрессоры
        • Назад
        • Компрессоры
        • Пневмолиния
        • Ресиверы
        • Осушители
        • Компрессоры винтовые
        • Компрессоры поршневые и аксессуары
          • Назад
          • Компрессоры поршневые и аксессуары
          • Блоки поршневые
          • Компрессоры безмаслянные
          • Компрессоры поршневые
      • Пускозарядные устройства и бустеры
        • Назад
        • Пускозарядные устройства и бустеры
        • Зарядные устройства
        • Пускозарядные устройства
        • Бустеры
        • Запчасти и аксессуары для пускозарядных устройств
      • Диагностические линии
        • Назад
        • Диагностические линии
        • Линии инструментального контроля
        • Стенды роликовые тормозные
        • Стенды для проверки амортизаторов
        • Стенды проверки бокового увода
      • Маслосменное оборудование
        • Назад
        • Маслосменное оборудование
        • Установки для замены жидкостей
        • Емкости и аксессуары
        • Бочки для слива масла
        • Нагнетатели масла
      • Диагностическое оборудование
        • Назад
        • Диагностическое оборудование
        • Стенды для проверки форсунок
        • Дымомеры
        • Газоанализаторы
        • Установки
        • Эндоскопы
        • Тестеры
        • Стенды диагностические для ремонта генераторов
        • Сканеры, опции и обновления
          • Назад
          • Сканеры, опции и обновления
          • Опции и обновления
          • Сканеры
      • Мойки высокого давления
        • Назад
        • Мойки высокого давления
        • Пеногенераторы
        • Пылесосы
      • Малярно-кузовное оборудование
        • Назад
        • Малярно-кузовное оборудование
        • Стапели
        • Камеры окрасочно-сушильные
        • Стойки и стенды для покраски
        • Краскопульты
        • Зоны подготовки
        • Шлифовальные машины и пылесосы
        • Тележки для перемещения автомобиля
        • Правка кузова и аксессуары
          • Назад
          • Правка кузова и аксессуары
          • Правка кузова
          • Аксессуары для правки кузова
        • Сварочное оборудование и аксессуары
        • Инфракрасные сушки и запчасти
          • Назад
          • Инфракрасные сушки и запчасти
          • Запчасти для инфракрасных сушек
          • Инфракрасные сушки
      • Мойка деталей
        • Назад
        • Мойка деталей
        • Ручная мойка деталей
        • Автоматическая мойка деталей
      • Приборы регулировки света фар
      • Оборудование для техосмотра
        • Назад
        • Оборудование для техосмотра
        • Дымомеры
        • Газоанализаторы
        • Люфтомеры
        • Течеискатель
        • Стенды роликовые тормозные
        • Прочие средства измерения
      • Складское оборудование
        • Назад
        • Складское оборудование
        • Складское оборудование
      • Система маслораздачи
        • Назад
        • Система маслораздачи
        • Насосы для подачи и перекачки масла
        • Консоли и пистолеты для раздачи масла
      • Мебель и верстаки
        • Назад
        • Мебель и верстаки
        • Аксессуары
        • Тележки инструментальные
        • Верстаки
      • Запчасти
        • Назад
        • Запчасти
        • Запчасти для стендов РУУК
        • Запчасти для балансировочных стендов
        • Запчасти для шиномонтажных стендов
        • Запчасти для двухстоечных подъемников
        • Запчасти для четырехстоечных подъемников
        • Запчасти для ножничных подъемников
        • Запчасти для заправок кондиционеров
        • Зачасти для плунжерных подъемников
      • Пневматический инструмент
        • Назад
        • Пневматический инструмент
        • Гайковерты пневматические
        • Блоки подготовки воздуха
        • Фитинги
        • Пневмокатушки и шланги для воздуха
        • Пневмозубила и дрели
        • Трещотки пневматические
        • Пневмолобзики
        • Пневмошлифмашинки
        • Пневмоножницы
        • Шприцы пневматические
        • Продувочный пистолет
        • Угловые шлифмашинки (УШМ)
        • Пневмозачистные машинки
        • Пневмозаклепочники
        • Полировальные машинки
        • Аксессуары и расходные материалы
      • Ручной инструмент
        • Назад
        • Ручной инструмент
        • Головки и насадки ударные
        • Ключи
        • Режущий инструмент
        • Кузовной инструмент
        • Съемники
        • Шарнирно-губцевый инструмент
        • Удлинители, переходники, карданы
        • Наборы ручного инструмента
        • Отвертки
        • Специальный инструмент
        • Тележки с наборами инструментов
        • Динамометрические ключи и отвертки
        • Защитные чехлы
        • Резьбонарезной инструмент
        • Измерительный инструмент
        • Зеркала, захваты, магниты
      • Электроинструмент
        • Назад
        • Электроинструмент
        • УШМ
        • Электрический и аккумуляторный инструменты
        • Перфораторы и дрели
        • Шуруповерты
      • Специнструмент
        • Назад
        • Специнструмент
        • Наборы специнструмента
      • Мото
        • Назад
        • Мото
        • Мотооснастка
        • Мотоподъемники
    • О компании
      • Назад
      • О компании
      • Отзывы
      • Наши клиенты
      • Наши работы
      • Фотогалерея
    • Бренды
    • Сервис
      • Назад
      • Сервис
      • Оформить заявку
      • Стоимость услуг
    • Запчасти
      • Назад
      • Запчасти
      • Оформить заявку на запчасти
      • Каталог запчастей
    • Гарантия
    • Оплата и доставка
    • Контакты
    Каталог товаров

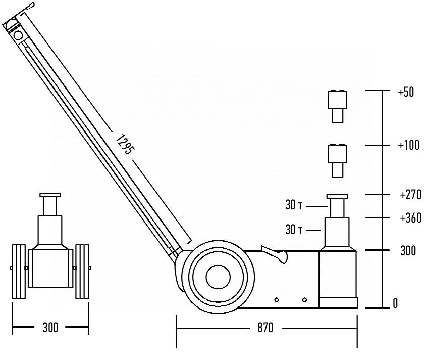
    Домкрат подкатной пневмогидравлический, 30 т n301

    Главная
    Каталог
    Грузовое оборудование
    Домкраты грузовые
    Домкрат подкатной пневмогидравлический, 30 т n301
    Артикул: n301
    NORDBERG
    Домкрат подкатной пневмогидравлический, 30 т n301
    Домкрат подкатной пневмогидравлический, 30 т n301
    Домкрат подкатной пневмогидравлический, 30 т n301
    Домкрат подкатной пневмогидравлический, 30 т n301
    Домкрат подкатной пневмогидравлический, 30 т n301
    Домкрат подкатной пневмогидравлический, 30 т n301
    Домкрат подкатной пневмогидравлический, 30 т n301
    Домкрат подкатной пневмогидравлический, 30 т n301
    Домкрат подкатной пневмогидравлический, 30 т n301
    Домкрат подкатной пневмогидравлический, 30 т n301
    Домкрат подкатной пневмогидравлический, 30 т n301
    Домкрат подкатной пневмогидравлический, 30 т n301
    Домкрат подкатной пневмогидравлический, 30 т n301
    Домкрат подкатной пневмогидравлический, 30 т n301
    По запросу
    Нашли дешевле?
    Доставка от 500 руб.
    Цена действительна только для интернет-магазина и может отличаться от цен в розничных магазинах
    • Описание
    • Отзывы
    • Как купить
    • Оплата
    • Доставка
    О товаре Подкатной пневмогидравлический домкрат NORDBERG AUTOMOTIVE N301 разработан на основе гидравлического принципа нагнетания с пневматическим управлением. Безопасный и удобный домкрат для предприятий автомобильного обслуживания позволяет повысить эффективность работ и снизить трудозатраты. Большая грузоподъемность Небольшой размер Высокая маневренность Широкий спектром применения В комплект входят 2 металлические проставки высотой 150 мм и 50 мм. Обязательна установка фильтра-влагоотделителя+лубрикатора. Показать полностью Скрыть Характеристики Грузоподъемность, т 30 Минимальная высота подхвата, см 36 Максимальная высота подъема, см 78 Длина, см 87 Ход штока, см 42 Ширина колесной базы, см 30 **Габариты и вес товара с упаковкой Общий вес с упаковкой - 0 кг Упаковка Размеры упаковки (Д*Ш*В), мм Вес, кг Упаковка №1 x x 0 ** Теоретический вес
    Отзывы
    Оставить отзыв
    Загрузка отзывов...

    Для покупки товара в нашем интернет-магазине выберите понравившийся товар и добавьте его в корзину. Далее перейдите в Корзину и нажмите на «Оформить заказ» или «Быстрый заказ».

    Когда оформляете быстрый заказ, напишите ФИО, телефон и e-mail. Вам перезвонит менеджер и уточнит условия заказа. По результатам разговора вам придет подтверждение оформления товара на почту или через СМС. Теперь останется только ждать доставки и радоваться новой покупке.

    Оформление заказа в стандартном режиме выглядит следующим образом. Заполняете полностью форму по последовательным этапам: адрес, способ доставки, оплаты, данные о себе. Советуем в комментарии к заказу написать информацию, которая поможет курьеру вас найти. Нажмите кнопку «Оформить заказ».

    Для покупки товара в нашем интернет-магазине выберите понравившийся товар и добавьте его в корзину. Далее перейдите в Корзину и нажмите на «Оформить заказ» или «Быстрый заказ».

    Когда оформляете быстрый заказ, напишите ФИО, телефон и e-mail. Вам перезвонит менеджер и уточнит условия заказа. По результатам разговора вам придет подтверждение оформления товара на почту или через СМС. Теперь останется только ждать доставки и радоваться новой покупке.

    Оформление заказа в стандартном режиме выглядит следующим образом. Заполняете полностью форму по последовательным этапам: адрес, способ доставки, оплаты, данные о себе. Советуем в комментарии к заказу написать информацию, которая поможет курьеру вас найти. Нажмите кнопку «Оформить заказ».

    Оплачивайте покупки удобным способом. В интернет-магазине доступно 2 варианта оплаты:

    1. Банковской картой.
    2. Оплата по счету.

    Экономьте время на получении заказа. В интернет-магазине доступно 4 варианта доставки:

    1. Курьерская доставка работает с 9.00 до 19.00. Когда товар поступит на склад, курьерская служба свяжется для уточнения деталей. Специалист предложит выбрать удобное время доставки и уточнит адрес. Осмотрите упаковку на целостность и соответствие указанной комплектации.
    2. Самовывоз из магазина. Список торговых точек для выбора появится в корзине. Когда заказ поступит на склад, вам придет уведомление. Для получения заказа обратитесь к сотруднику в кассовой зоне и назовите номер.
    3. Постамат. Когда заказ поступит на точку, на ваш телефон или e-mail придет уникальный код. Заказ нужно оплатить в терминале постамата. Срок хранения — 3 дня.
    4. Почтовая доставка через почту России. Когда заказ придет в отделение, на ваш адрес придет извещение о посылке. Перед оплатой вы можете оценить состояние коробки: вес, целостность. Вскрывать коробку самостоятельно вы можете только после оплаты заказа. Один заказ может содержать не больше 10 позиций и его стоимость не должна превышать 100 000 р.
    По запросу
    Нашли дешевле?
    Под заказ
    Наши менеджеры обязательно свяжутся с вами и уточнят условия заказа
    Доставка от 500 руб.
    Цена действительна только для интернет-магазина и может отличаться от цен в розничных магазинах
    NORDBERG
          Компания Nordberg одна из первых в России всерьез взялась за насыщение рынка качественным оборудованием для автотехцентров, разработанным в Европе и Америке. На данный момент Nordberg — это бренд автосервисного оборудования, который является одним из лидеров в своей области.
    Все товары категории
    Все товары бренда NORDBERG

    Нужна консультация?

    Наши специалисты ответят на любой интересующий вопрос
    Задать вопрос
    Подписаться на рассылку
    © 2020—2026, ИП Наумов Василий Олегович
    +7 (812) 363-03-00
    Заказать звонок
    -Заказ оборудования, инструмента и расходных материалов-zakaz@amotivegroup.ru
    -Заказ запасных частей-zip@amotivegroup.ru
    -Вопросы по монтажу, обслуживанию и ремонту оборудованию-service@amotivegroup.ru
    г. Санкт-Петербург, ул. Самойловой д. 7
    Политика конфиденциальности